Станок из дрели
Есть множество различных способов самостоятельного создания токарного станка. Некоторые делают данный агрегат своими руками из дрели. Он прекрасно подойдет для проведения легких токарных работ на дому.
Для того, чтобы данный станок более эффективно выполнял свои основные задачи, необходимо закрепить дрель на станине при помощи тисков и хомута, который фиксируется на шейке.
Важно помнить:
станина у такого прибора должна быть тяжелой и иметь высокую прочность. Подводя итоги, хочется отметить, что домашний токарный станок может не хуже того, который используется на производстве, выполнять несложные функции, при этом его изготовление не потребует слишком много затрат
Подводя итоги, хочется отметить, что домашний токарный станок может не хуже того, который используется на производстве, выполнять несложные функции, при этом его изготовление не потребует слишком много затрат.
Как сделать токарный станок своими руками, смотрите в следующем видео:
Чтобы в домашних условиях собрать самодельный токарный станок, не понадобится даже чертежей. Зато на этом приспособлении можно сделать симпатичные подставки, ручки для разного инструмента и многое другое.
Самодельный токарный станок можно изготовить, подобрав для этого электромотор, деревянный брусок, деревянную доску, головку 9/32 из набора инструментов, болт М 12 с двумя гайками. После того как будут приобретены все необходимые комплектующие, можно приступать к сборке конструкции.
В качестве мотора подойдет электродвигатель, снятый со старой швейной машинки, поскольку там есть педаль, регулирующая скорость вращения. В качестве заготовки для патрона подойдет головка 9/32, которая закрепляется на валу при помощи холодной сварки или Электродвигатель можно закрепить на деревянном бруске, привернув его шурупами или посредством холодной сварки. Можно воспользоваться двухкомпонентным моментальным клеем, которым хорошенько промазывается дно электродвигателя, а на него накладывается деревянный брусок. Чтобы детали хорошо склеились, их нужно зафиксировать в сложенном состоянии (до тех пор, пока клей не полимеризуется). После того как детали надежно склеятся, их надо установить на деревянную доску, которая будет станиной. Задняя бабка вырезается из деревянного бруска, имеющего L-образную форму. Она устанавливается на доске-станине напротив электродвигателя и закрепляется шурупами. В импровизированную заднюю бабку вворачивается болт М 12, с обеих сторон его положение фиксируется гайками. Конец болта нужно сделать конусообразным. Это можно осуществить с помощью электродрели. Болт зажимается в ней, а затем с помощью напильника доводится конус на болте. И вот самодельный токарный станок готов к работе.
Можно испробовать его, обточив деревянную заготовку. Для этого ей нужно придать шести- или восьмигранную форму, накернить по центру с одной стороны отверстие для болта задней бабки, а с другой засверлить отверстие, которое будет немного меньше диаметра головки 9/32. Заготовка вставляется в патрон и прижимается задней бабкой. Далее запускается двигатель, который вращает заготовку. Теперь можно начать ее обработку. Для работы не нужно забывать о технике безопасности. Обработку заготовки нужно вести в Категорически нельзя останавливать вращающуюся заготовку руками!
Самодельная конструкция для точения металла
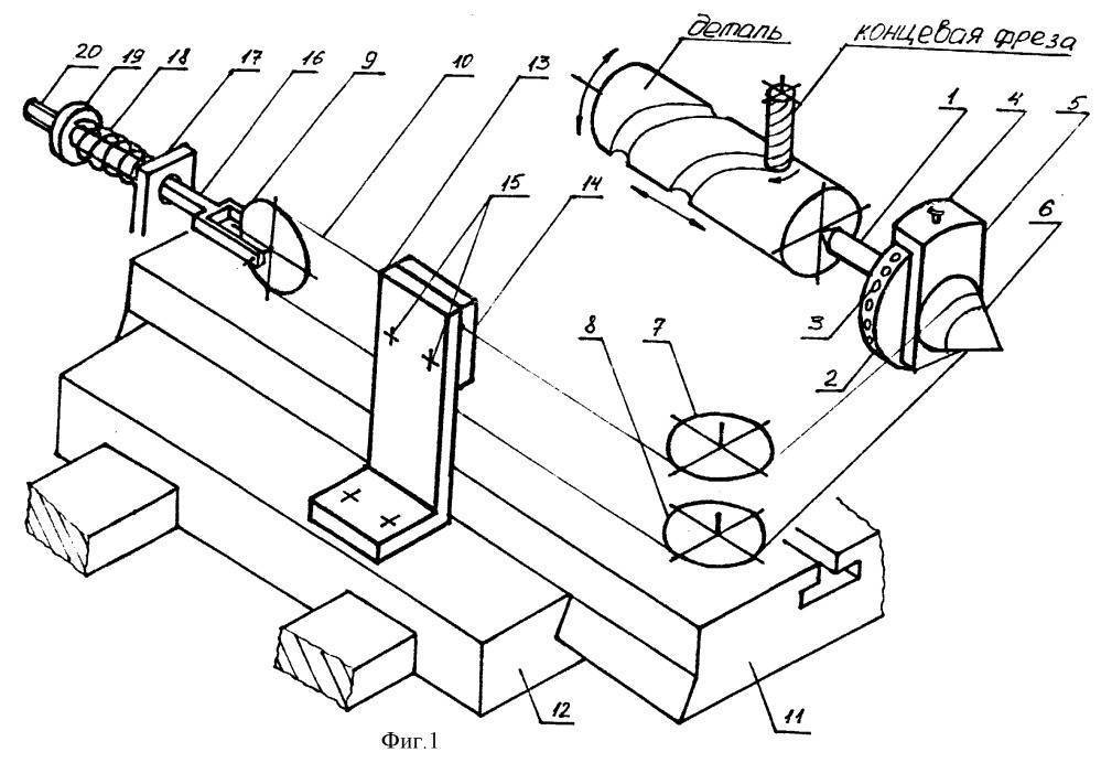
Самодельный токарный станок по металлу отличается от предыдущей конструкции более сложным устройством. Он имеет жесткую металлическую раму из швеллеров, которая является его станиной. На левом конце этой рамы укрепляется неподвижная передняя бабка, а на правом конце выполняется опора. В таком станке уже имеется шпиндель с укрепленным на нем поводковым патроном или планшайбой. Вращение на шпиндель передается с помощью от электродвигателя. Если в предыдущем случае резец нужно было держать руками, то при точении металла этого делать нельзя. Здесь возникают такие нагрузки, что руками резец просто не удержишь. Поэтому самодельный токарный станок оснащается суппортом, который может двигаться вдоль продольной оси. На нем установлен резцедержатель, который может двигаться в направлении, поперечном по отношению к линии движения суппорта. Контролировать его перемещение можно с помощью маховичка, на котором установлено кольцо с делениями. Маховичок вращается рукой.

Возможность установки ЧПУ
Можно сделать самодельный токарный станок с ЧПУ, используя два шаговых двигателя и любую плату управления по 2-3 осям. Это очень подойдет для С учетом того, что такой станок в магазине обойдется в приличную сумму, есть смысл сделать это самостоятельно!
Размеры и чертежи
Определяя габариты станка, в первую очередь, ориентируются на максимальную длину и диаметр обрабатываемых деталей. Напомним, что в промышленности маломощное токарное оборудование имеет такие граничные параметры:
- длина – до 1150 мм;
- ширина – до 620 мм;
- расстояние от верхней поверхности станины до оси шпинделя (высота оси) – около 180 мм.
Вряд ли стоит превышать эти значения на кустарно изготавливаемом оборудовании. Не надо забывать о том, что с увеличением размера многократно возрастает опасность искривления геометрии станка. При выборе размера суппорта и определении крайних точек его перемещения, расчёте расстояния между центрами и пределами перемещения резцедержателя, лучше всего ориентироваться на чертежи самодельных станков. Изготовленные народными умельцами, они на практике доказали свою работоспособность, поэтому не воспользоваться проверенными решениями было бы глупо.
Задняя бабка
Чертёж суппорта и резцедержателя
Чертёж станины
Чертёж передней бабки
Самодельный токарный станок. Общий вид
Чертёж задней бабки
Самодельный токарный станок по металлу достаточно легко изготовить своими руками, но для начала необходимо разобраться, что собой представляет это оборудование.
Токарная установка придумана много сотен лет назад. Изначально это было ручное оборудование, но пройдя множество различных модернизаций, оно преобразилось и стало более легким в использовании.
На сегодняшний день токарный станок является незаменимым устройством на абсолютно любом производстве. Сейчас можно встретить различные формы и конфигурации данного оборудования, которые предназначены для различных целей.
Главные узлы станка
Категорически не рекомендуется приступать к изготовлению какого-либо агрегата, не понимая принципов работы каждой его составной части и узла, не представляя себе величину и направление действия нагрузок, обоснованности тех или иных технических требований. Из каких элементов состоит токарный станок?
- Станина. Несмотря на кажущуюся простоту, это самый важный элемент токарного станка по дереву, к нему в дальнейшем крепятся все остальные узлы. Если станина не может выдерживать действующие во время работы усилия, то не стоит надеяться не только на получение качественных изделий, но и на безопасность работы. Станина не должна колебаться или дрожать, первоначальные параметры прочности не должны ухудшаться весь период эксплуатации. Если вы делаете станину из пиломатериалов, то надо выбирать только самые прочные их виды, не допускать даже минимальных люфтов и зазоров между отдельными частями. Дерево — довольно мягкий материал, и зазоры позволяют элементам двигаться и накапливать кинетическую энергию. Величина кинетических усилий в разы превышает значения статических, как следствие – дальнейшее увеличение зазоров, уменьшение прочности станины вплоть до ее полного разрушения. Мы рассмотрим два варианта станины: из дерева и металла. Металлический вариант намного прочнее, безопаснее и долговечнее.
Станина — важный элемент токарного станка
- Передняя бабка. Узел выполняет две задачи: придает заготовке вращательное движение и удерживает ее в заданном начальном положении. Для мини токарных станков по дереву привод требуется не очень мощный, могут использоваться электрические двигатели от бытовых приборов, дрельки или специальные однофазные минидвигатели. Передняя бабка фиксируется к станине неподвижно, за счет этого увеличивается надежность оборудования.
Передняя бабка
- Задняя бабка. Назначение – удерживать вращающуюся заготовку в горизонтальном положении и при этом создавать минимум сопротивления. С деревянной заготовкой может контактировать острый конус или трезубец, конус часто не имеет подшипников, а трезубец должен садиться только на подшипник. Второй вариант предпочтительнее, и установить подшипник на заднюю бабку несложно. Почему? Если поддерживающий заготовку конус не вращается в бабке, а скользит только внутри детали, то со временем отверстие в дереве увеличивается, во время точения дерево шатается. Как следствие – качество обработки поверхностей крайне низкое, в некоторых случаях возникают аварийные ситуации, деталь вырывается и может травмировать рабочего. Профессионалы для улучшения качества и повышения безопасности работы рекомендуют в задней бабке устанавливать фиксирующий трезубец и крепить его к бабке при помощи подшипника. Задняя бабка подвижная, за счет этого в станок устанавливаются детали различной длины. Подвижность выдвигает жесткие требования к прочности и прочности всех отдельных элементов узла.
Так выглядит задняя бабка токарного станка
- Подручник (упор для резцов). Профессионалы настоятельно рекомендуют его устанавливать на всех без исключения станках по дереву вне зависимости от размеров и мощности. Это специальное устройство, о которое упирается резец во время точения. Инструмент должен лежать устойчиво и без вибраций, в противном случае качество вытачиваемых деталей будет очень далеким от ожидаемого. Кроме того, возникает вероятность вырывания режущего инструмента, что чревато очень серьезными травмами. Упор для резцов должен иметь регулировки по горизонтали и вертикали, с учетом размеров заготовок он приближается или удаляется от оси вращения.
Подручник для токарного станка
- Узел управления. Имеется в виду пульт включения/выключения. Имейте в виду, что большинство автоматов имеет пружинные контакты. Их надо надежно защищать от попадания пыли, в противном случае электрическая арматура перестает функционировать. Необходимо разбирать корпус и тщательно очищать внутренние детали от пыли и стружки.
Узел управления располагается возле передней бабки
Мы специально дали полный перечень частей с описанием их функций, теперь вы можете принимать взвешенные решения об упрощении конструкций с сохранением их функциональности.
Устройство стандартного токарного станка
Копир для токарного агрегата
Мастеру, изготавливающему какое-то количество одинаковых деталей, просто необходимо иметь копировальное устройство для токарного станка. Такое приспособление, несмотря на некоторую сложность изготовления, значительно облегчит работу токарю.
Как сделать своими руками токарно-копировальный станок по дереву? И что это такое – копир? Это устройство, которое позволяет изготовить точную копию какого-либо изделия из дерева, выполненного не токарным способом. Оно закрепляется на станке перед заготовкой или над ней. Принцип действия достаточно прост: в верхней или нижней части станины (это зависит от устройства копира) неподвижно закрепляется изделие (или трафарет), которое необходимо повторить. Далее посредством обкатного ролика рисунок контура передается на резец, который жестко связан с роликом. Учесть необходимо следующее: выпуклость на трафарете даст углубление на детали и, соответственно, наоборот.
Применение копировального устройства дает неоспоримое преимущество при изготовлении таких вещей, как ножки столов или балясины для лестниц. Все изделия получаются одинаковыми, чего невозможно достичь ручной обработкой даже при самом хорошем глазомере.
Задачи для токарного оборудования
Цилиндрические и конические детали производят с помощью токарной обработки. Здесь реализуется принцип вращения детали относительно режущего инструмента. Во всех других видах обработки заготовка не перемещается.
При токарной обработке выполняют следующие операции.
- Выполняется вытачивание цилиндрической поверхности. При необходимости на ней выполняют ступени: один или несколько цилиндров разного диаметра располагают согласно задумкам конструктора.
- Точат уступы и канавки для упора или установки фиксирующих колец или шайб.
- Растачивают внутренние цилиндры или конические поверхности.
- Нарезают резьбу необходимого диаметра с определенным шагом. Ее располагают внутри или снаружи детали.
- С помощью вспомогательного инструмента сверлят соосные отверстия, зенкерами и развертками добиваются необходимой точности и чистоты обработки.
- При необходимости с помощью накаток придают специальное рифление поверхности или накатывают резьбу особого профиля.
- Имея болванки, с помощью давилок методом пластической деформации изготавливают тонкостенные детали из металла или пластических материалов.
- В мебельном производстве часто протачивают изделия сложной формы, их называют фасонными поверхностями вращения. Изготовление выполняется по специальным шаблонам или программам.
Создание токарного станка
Самостоятельно проще всего сделать лобовую модель токарного станка. Этим оборудованием легко пользоваться и оно имеет все необходимые функции и способно работать как с металлическими, так и с деревянными изделиями.
Благодаря тому, что тип устройства оборудования простой, и никаких специфических деталей для него не потребуется, срок службы такого станка будет внушительным, благодаря тому, что вышедшие из строя детали можно заменить в любой момент.
Видео:
Начинается работа с выпиливания двух деревянных стоек, в которых нужно проделать отверстия для болтов и вставить туда болты, пользуясь гайками.
Начиная работу, проследите, чтобы диаметр отверстий и гаек совпадал. Прежде чем начинать делать станок, посмотрите видео – так вам легче будет работать.
Чтобы стамеска или резец при работе оборудования были устойчивы, вам нужен будет резцедержатель или, по-другому, подручник.
Резцедержатель является необходимым для комфортного изготовления станка собственноручно. Дощечка, находящаяся снизу, должна иметь скошенный угол и полосу из металла, которая сможет предотвратить деформацию стамески во время работы станка.
Горизонтальная дощечка должна быть оборудована прорезью, которая позволит контролировать и управлять движением подручника.
Следующий этап работы – закрепить саму заготовку с помощью гаек, чтобы она была надежно закреплена, но в то же время могла свободно двигаться – после этого можно считать настольный станок готовым к использованию.
Не забудьте повторить все процессы его создания по видео, чтобы убедиться, что вы все сделали правильно.
Видео:
Обработка заготовки происходит путем вращения в две стороны, что позволяет придать детали нужную форму. Такой простой способ обработки на самом деле дает хороший результат и позволяет получить разнообразные детали очень высокого качества.
Для работы вам понадобится электродвигатель с минимальной мощностью (около 250-500 Вт), однако, если у вас его нет, то для станка можно приобрести электромотор любого вида, например, принадлежавший ранее швейной машинке.
Благодаря тому, что мощность для станка требуется минимальная, вы можете использовать оборудование практически от любого устройства ЧПУ.
Чтобы сделать токарный станок из дрели, необходима определенная последовательность действий. Передняя, задняя части и бабка легко изготавливаются самостоятельно. Как делается бабка, передняя и задняя часть станка и суппорт вы можете посмотреть на видео – оно сделает все процессы простыми и понятным.
Для рамы, чтобы изготовить токарный станок из дрели, можно использовать швеллер или деревянный брусок, а также уголок или любой другой сортовой металл.
Самодельный токарный станок по металлу может быть использован не только для того, чтобы обрабатывать детали.
Вы можете насадить на одну из мини-частей, составляющих вал электродвигателя, круг для шлифования и затачивать на нем инструменты, либо шлифовать и полировать поверхности.
Также можно установить на вал патрон для сверления или переходник, и тогда самодельный токарный станок станет пригодным для процесса фрезеровки пазов, либо создания сверловых отверстий в теле изделий из металла и дерева.
Самое важное – правильно собрать сам станок, его центр, а потом уже добавлять к нему новые части, по мере того, как вы начнете осваивать этот инструмент и научитесь с ним работать. Фото и видео помогут вам не только сделать самодельный токарный станок, но и в его эксплуатации, поэтому пользуйтесь ими и инструкциями, прежде чем начнете заниматься на станке обработкой деталей. Фото и видео помогут вам не только сделать самодельный токарный станок, но и в его эксплуатации, поэтому пользуйтесь ими и инструкциями, прежде чем начнете заниматься на станке обработкой деталей
Фото и видео помогут вам не только сделать самодельный токарный станок, но и в его эксплуатации, поэтому пользуйтесь ими и инструкциями, прежде чем начнете заниматься на станке обработкой деталей.
Особенности конструкции токарно-винторезного станка своими руками
Общий вид самодельного станка.
Не сложно изготовить в домашних условиях самодельный токарный станок. Главное соблюдать ряд правил, которые помогут вам это сделать. Первым делом следует заместить ведомы и ведущие центры оборудования на одной оси. Таким образом пользователь удаляет вибрации, которые могут возникать в процессе обработки металлических заготовок.
Важно! При использовании оборудования с одним ведущим центром нужно устанавливать специальный кулачковый патрон либо же планшайбу. Благодаря этим элементам у пользователя получится закрепить деталь для дальнейшей обработки режущими инструментами. Благодаря этим элементам у пользователя получится закрепить деталь для дальнейшей обработки режущими инструментами
Благодаря этим элементам у пользователя получится закрепить деталь для дальнейшей обработки режущими инструментами.
Важно! Ни в коем случае не следует устанавливать движки в качестве электропривода коллекторного типа. Если не обеспечить такой агрегат дополнительной противодействующей нагрузкой, вращательный момент будет слишком сильным. Вытачивать что-либо при таких оборотах не получится
Кроме того, деталь может просто вылететь из зажимов, которые не обеспечат достаточной силы прихвата
Вытачивать что-либо при таких оборотах не получится. Кроме того, деталь может просто вылететь из зажимов, которые не обеспечат достаточной силы прихвата
Если не обеспечить такой агрегат дополнительной противодействующей нагрузкой, вращательный момент будет слишком сильным. Вытачивать что-либо при таких оборотах не получится. Кроме того, деталь может просто вылететь из зажимов, которые не обеспечат достаточной силы прихвата.
Таким образом можно не только повредить саму заготовку, но и хорошо пострадать при попадании ее в человека. Для этой цели используйте асинхронный двигатель. Суть его работы в том, что даже при увеличении или уменьшении нагрузки, частота вращения, передаваемая на валы меняться не будет.
Такой агрегат позволит оператору выполнять обработку деталей следующих габаритов:
- Толщина — 10 см;
- Ширина — до 70 см.
Задняя бабка — это уникальная конструктивная часть станка, где монтируется ведомый центр. Он может быть неподвижным или динамическим. Чтобы передвигать его используется элементарный болт. Подкручивая или раскручивая, бабка будет двигаться по направлению, нужному оператору.
Прежде чем устанавливать такой болт, смажьте его машинным маслом, для более лучшего и комфортного скольжения. Только потом его допустимо вставлять в резьбу, которая предназначена для передвижения задней бабки установки.
Основное предназначение токарного станка
ТВ 16 токарно-винторезный
В принципе работы любого токарного станка лежит обработка детали при ее вращении. Таким образом резак вставленный в плоскость вращения, при контакте с заготовкой будет удалять лишние элементы. Такое оборудование поддается автоматизации, благодаря чему оператор получает возможность для следующего:
- Выполнять продольное точение цилиндрической заготовки с гладкой или ступенчатой поверхностью;
- Обрабатывать уступы или канавки в будущей детали;
- Выполнять проточку наружных или внутренних поверхностей конической формы;
- Осуществлять нарезку резьбы, как внутренней, так и наружной при помощи резца или сверла;
- Делать развертку или зенкерование отверстий металлической заготовки;
- Отрезать лишние части или прорезать канавки;
- Выполнить накатку рифлёной поверхности заготовки.
Главным назначением в применении токарного станка по металлу является обработка валов, втулок или дисков. Таким образом человек получает возможность из заготовки сделать ось, маховик, звездочки, различные вкладыши, прочее. Также на универсальном токарном станке можно выполнять обработку корпусных деталей.
Есть определенная классификация токарного оборудования. Они делятся следующим образом
- По токарному признаку. Существует целых 9 подгрупп, при делении оборудования таким образом.
- Размерному ряду. Классификация выполняется в зависимости от диаметра заготовки, которую вы будете обрабатывать.
- Уровню специализации. В зависимости от профиля выполняемых работ и возможностей оборудования.
- Классу точности станка.
Самыми известными и применяемыми для домашней мастерской являются токарно-винторезные станки.
Они получили свою популярность еще в советские годы, когда на них обучали молодое поколение обрабатывать металлические детали. Основное назначение станков этой группы, как раз подготовка специалистов для работы с более сложным оборудованием.
Это подразумевает простоту работы и освоения станка. А также высокий уровень безопасности и минимальные требования к технике безопасности при работе оператора.
Сейчас подобное оборудование выпускают современного образца. У таких моделей повышенный функционал, рассчитанный для работы предприятия, следовательно, подобное оборудование нецелесообразно устанавливать у себя дома.
Это будет дорого — нет смысла переплачивать за функционал, которым вы никогда в своей жизни не воспользуетесь.
Старые станки ТВ-16, которыми оборудовались практически все кабинеты труда и производственные мастерские для обучения специалистов в учебных заведениях, идеально подойдут для дома. Проблема заключается в том, что достать такое оборудование даже с резервации очень проблематично.
Можно конечно, купить по фото на Авито, но вы купите с рук, и не факт, что станок прослужит у вас долго, после старого хозяина.
Лучше всего сделать его самостоятельно, тем более, ничего сложного в этом нет. Потребуются инструменты и материалы, которые достать не проблема. Соорудив станок по металлу своими руками, вы не только получите оборудование для работы с заготовками, но и сэкономите массу средств на покупке и услугах токарей.
Варианты модернизации
Модернизация станка должна идти в нескольких направлениях это:
- повысить мощность, поставив электродвигатель нового поколения;
- увеличить число рабочих передач для широкого перебора скоростей (установить электронную гитару);
- повысить жёсткость в узлах станка;
- установка механической и электрической защиты для более безопасной работы;
- добавление вспомогательных узлов.
Ремни от шкивов
Ремни для шкивов лучше подбирать из поликлиновых ремней от автомобилей. Автомобильные ремни имеют большую площадь контакта (не проскальзывают), небольшая толщина (может работать с меньшими радиусами не перегреваясь), без биений (нет шума).
Кнопка экстренного торможения
Торможение в токарных станках по металлу необходимо. Проще всего делать модернизацию электрической схемы. Асинхронные двигатели рекомендуется тормозить подачей на клеммы двигателя постоянного напряжения на непродолжительное время (1-2сек.)
Установка защитного кожуха
Защитный кожух в обязательном порядке защищать шкивы и ремни передачи на шпиндель. Рекомендуется делать защитный кожух со стеклом для защиты глаз от стружки.
УЗО и другие защитные устройства
УЗО, предохранители, термореле, автоматы защиты, защитные кнопки должны быть установлены на токарном станке по металлу обязательно. Провода должны быть правильного сечения. Надежно закреплены на контактных площадках. Средства электрической защиты гораздо дешевле собственной жизни.
Освещение
Освещение зоны реза настольной лампой с гибкой арматурой поможет работать на станке. Единственное замечание: лучше использовать пониженное напряжение для питания лампы. В промышленных станках использовалось напряжение 36 В.
Разборная основа
Разборная основа не рекомендуется для домашнего токарного станка по металлу. Чем массивнее основа станка, тем меньше вибрация и выше качество изготовления деталей.
Применение наждачного или шлифовального круга
На токарный станок по металлу можно устанавливать наждачный и шлифовальный круг для расширения возможностей токарного станка по металлу. Наждачный круг при работе на токарном станке необходим для заточки резцов.
Какие подручные средства можно использовать?
Для самодельных станков, кроме деталей от списанных токарных станков по металлу некоторые используют электрическую дрель как электропривод.
Пошаговый процесс сборки устройства
Когда выточены все необходимые детали, необходимо их собрать в единую конструкцию.
На сборочном столе собирают детали будущего настольного токарного станка.
Решено конструкцию изготавливать из фланцев, выточенных из кругляка диаметром 120 мм. Для облегчения в них просверлено центральное отверстие Ø 55 мм. Имеются три отверстия Ø 20 мм.
С торца просверлены дополнительные отверстия для резьбовых фиксаторов. Винтами М6 можно закрепить остальные детали в заданном положении.
Для будущего ходового винта запрессована бронзовая втулка. Внутренний Ø 16 мм.
Направляющие станины изготовлены из ковкого чугуна. В них изготовлены продольные проточки. Цилиндрическая часть позволяет фиксироваться в отверстиях фланцев.
Вставляется направляющая так, чтобы совместить все имеющиеся элементы.
Чтобы выдержать заданное расстояние используются дистанционные втулки. Их устанавливают в распор между фланцами.
Вторая направляющая изготовлена точно также как и первая.
Собрав основание для передней бабки, приступают к сборке задней.
Каркас стягивают гайками. Создана основа будущей станины.
Станок буде стоять, опираясь на передние упоры. Их крепят винтами к фланцам.
По направляющим перемещаются опорные втулки. На них будут монтироваться суппорт и задняя бабка. Длинная втулка работает направляющей, а короткая – является поддерживающей. Проточки на валиках не позволяют смещаться.
Конструктивно опорные втулки выполнены разной длины. Такое решение позволяет увеличить рабочий ход.
Длина обрабатываемых деталей может быть достаточной, чтобы детали имели размеры до 250 мм.
Площадка для суппорта крепится винтами М6.
Отверстия для площадки сверлят по месту. Эта деталь изготавливается индивидуально. Если попытаться сделать ее только по чертежу, то может проявиться эффект заклинивания.
По аналогии изготавливается площадка задней бабки. Ее также сверлят по месту. Нужно обеспечить скользящее перемещение по направляющим.
Нужно обеспечить жесткость станине. Для передней бабки выточено специальное цилиндрическое полукольцо. Оно крепится болтами к фланцам.
Перемещение инструментов на суппорте или задней бабке осуществляется по ходовому винту. На нем протачивается прямоугольная резьба, имеющая небольшой наклон (12,5 ⁰). При вращении ходового винта детали, закрепленные на нем, перемещаются вперед или назад. Зависит от направления вращения.
Отверстие с запрессованной втулкой создавалось для ходового винта.
Чтобы винт свободно вращался, но сам не смещался вдоль своей оси, используются упорные подшипники. Их ставят спереди и сзади от задней опоры.
Для предотвращения осевого перемещения ходового винта устанавливается фиксирующая втулка. Она крепится болтом М6. Теперь винт не будет смещаться вдоль оси, но вращаться может.
Поверх фиксирующей втулки ставится нониус (приспособление с насечками). Один оборот винта перемещает суппорт или заднюю бабку на 10 мм. Ориентируясь по шкале, можно выполнять точное смещение в продольном направлении.
Чтобы вращать ходовой винт, устанавливается маховичок. Небольшая рукоятка позволяет легко вращать маховик.
Ориентироваться помогает риска. Глядя на нее, задают нужное осевое смещение.
Станина станка собрана. Теперь нужно установить переднюю бабку. В ней будет фиксироваться деталь.
На пластинах устанавливают направляющие поперечного перемещения.
Передняя бабка монтируется сверху. На рисунке видны блок шкивов, трехкулачковый патрон и центральная втулка.
Шкивы можно легко снять и установить на шпиндель.
Сам шпиндель устанавливается внутри центральной втулки.
Между шпинделем и втулкой имеются радиальные подшипники. Они дают свободное вращение.
Центральная втулка крепится болтами к станине.
После установки подшипников монтируется шпиндель с трехкулачковым патроном. Внутри шпинделя проточено отверстие Ø 35 мм. При необходимости заготовки меньшего диаметра могут проходить сквозь него.
Станок готов. Привод осуществляется через клиновые ремни от электродвигателя, установленного в стороне.
Видео: токарный мини станок своими руками.
Изготовление станины: пошаговая инструкция и видео
Дальнейшие действия состоят в изготовлении опорной установки (станины), монтаже рабочего оборудования, соединения его с электродвигателем и непосредственный запуск в эксплуатацию. Последовательность действий такая:
- Сначала требуется выполнить раму, которую можно выпилить из стальных труб (профилей) в соответствии с размерами на чертежах. Все стыки необходимо делать только под прямы углом, поэтому можно проверять правильность соединения с помощью обычного угольника. Станина изготавливается из направляющих. в качестве которых можно использовать длинные валы.

Боковым стойкам станины следует уделить особое внимание, поскольку они являются несущими элементами. Следовательно, от них во многом зависит неподвижность всей конструкции. Лучше всего сделать стойки на профессиональном токарном станке
Лучше всего сделать стойки на профессиональном токарном станке.

Далее необходимо собрать всю опорную установку: боковые элементы идут по краям, между ними – 2 направляющие. С определенным интервалом на направляющих монтируются втулки, как показано на фото.

Далее фиксируются втулки, с помощью которых будет прикрепляться задняя бабка и резцедержатель. При этом лучше сделать так, чтобы втулки были разных размеров, поскольку ход механизма в этом случае будет больше.

Поверхности для монтажа суппорта делаются из обычных стальных листов
Важно, чтобы они были без дефектов и ровными. Оптимальная толщина листа – в пределах сантиметра

Далее осуществляется монтаж ходового винта. Можно изготовить резьбу на металлической палке, но есть и более простые варианты – например, воспользоваться ножкой от старого вращающегося стула

При монтаже винта важно учесть, чтобы боковые стойки были снабжены втулками. На сам винт крепится штурвал для возможности вращения, а также нониус

После этого монтируется поверхность, на которой затем будет установлена передняя бабка.
После этого станина полностью собирается
Важно учесть, чтобы все элементы были соединены наглухо – малейшая слабина недопустима, поскольку в ходе работы вибрационные раскачивания усилят непрочность механизма и могут привести к его повреждениям
Наглядная инструкция по монтажу станины – на этом видео.
https://youtube.com/watch?v=SNAKlrlLhR8





































